• Přihlášení
  • Čeština  
    • Čeština
    • English
VARI
Nákupní koš
je prázdný
  • Úvod
  • Návody
  • Reklamace
  • Technická osvědčení
  • NÁHRADNÍ DÍLY
  • SEČENÍ
  • MULČOVÁNÍ
  • ROTAVÁTORY
  • LUCINA MaX
  • RAPTOR Hydro
  • POHONNÉ JEDNOTKY
  • PŘÍSLUŠENSTVÍ DSK-316
  • PŘÍSLUŠENSTVÍ DSK-317
  • 3608 NM1-001
  • 3611 APH-352
  • 3612 APJ-018P
  • 3613 ABR-354
  • 3614 BH-138
  • 3616 AKY-356
  • 3635 APJ-018L
  • 3671 S-1000
  • 3704 Z-01
  • 3705 ON-01
  • 3706 TN-01
  • 3710 BZN-002
  • 4269 Závěs s nosičem závaží BZN-002
  • 4273 Závaží 5Kg
  • 4271 Nosič závaží NZ-5/317
  • 3711 NT-3
  • 3744 Kryt T-20
  • 3770 K-720
  • 3791 AV-3
  • 3883 TN-014 PROFI
  • 3953 BZN-005
  • 4289 VK-ECO
  • 4291 OK-ECO
  • 4292 TN-ECO
  • 4328 ASR-1000 KOMPLET
  • 4346 ASR-850 a ASR-2V
  • 4363 SB-40
  • 4367 TN-GLOBAL
  • 4381 VK-GLOBAL
  • 4396 VT-1000
  • 4398 PT-1000
  • 4516 TK-01
  • 4557 PN-200
  • 4566 SM-01
  • PŘÍSLUŠENSTVÍ K MOTORŮM
  • PŘEVODOVÉ SKŘÍNĚ
  • ÚKLID
  • ZPRACOVÁNÍ DŘEVA
  • VÝROBKY VARI
  • TRAVNÍ TRAKTORY A SEKAČKY
  • PŘÍMOPŘIPOJITELNÉ STROJE
  • BAZAR
  • PŘÍVĚSY
  • PRACOVNÍ POMŮCKY
  • STAVEBNICE PONY IIA

200+ AUTORIZOVANÝCH SERVISŮ
V ČECHÁCH A NA MORAVĚ
  1. Úvod
  2. NÁHRADNÍ DÍLY
  3. PŘÍSLUŠENSTVÍ DSK-317
  4. 3710 BZN-002
  5. 4273 Závaží 5Kg

4273 Závaží 5Kg

4273 Závaží 5Kg

4273 Závaží 5Kg

Objednací číslo: 4273ND

Dokumenty ke stažení
Formát Název Velikost
PDF Katalogový list 56 kB
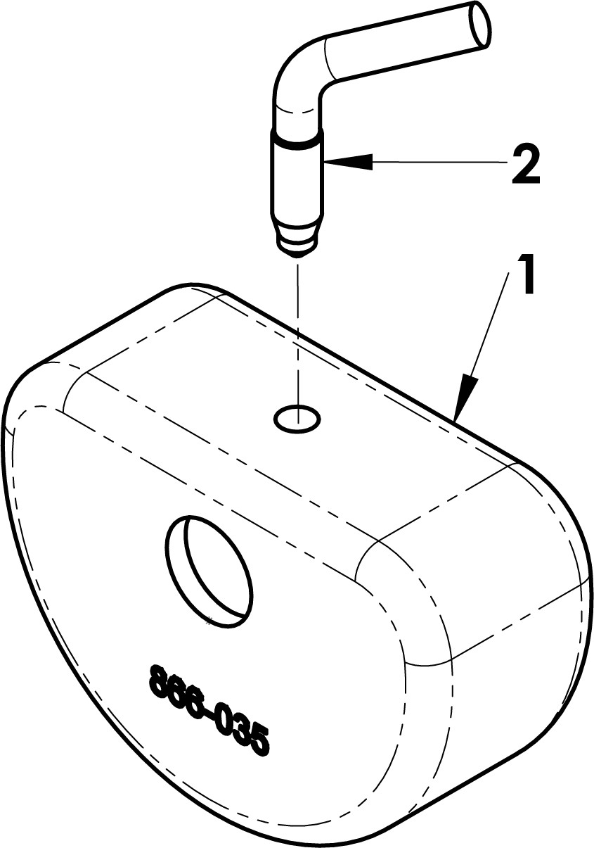
Technický nákres
4273 Závaží 5Kg
Soupis dílů sestavy
Pozice Název Objednací číslo Kusů Cena s DPH / ks
1 ? 0 ks skladem Závaží 5kg
#1 1 ks 107001
107001 1
937,80 Kč
937,80 Kč
2 skladem Šroub zajišťovací
#2 1 ks 106023
106023 1
72,60 Kč
72,60 Kč

© 2026 VARI, a.s.

Provozováno na systému: Shop4You.cz

Kontakty

Obchodní podmínky

Ochrana osobních údajů

Tyto webové stránky používají soubory cookies. Používáním těchto stránek souhlasíte s jejich použitím. Více informací naleznete zde.
Vyhledávání
Dotaz k produktu
Přihlášení
Zapomněli jste Vaše přihlašovací údaje?
Změna přihlašovacího hesla