Přihlášení
Čeština
Čeština
English
Hledat
Nákupní koš
je prázdný
Vyhledávání
Úvod
Návody
Reklamace
Technická osvědčení
NÁHRADNÍ DÍLY
SEČENÍ
MULČOVÁNÍ
ROTAVÁTORY
LUCINA MaX
RAPTOR Hydro
POHONNÉ JEDNOTKY
PŘÍSLUŠENSTVÍ DSK-316
PŘÍSLUŠENSTVÍ DSK-317
3608 NM1-001
3611 APH-352
3612 APJ-018P
3613 ABR-354
3614 BH-138
3616 AKY-356
3635 APJ-018L
3671 S-1000
3704 Z-01
3705 ON-01
3706 TN-01
3710 BZN-002
3711 NT-3
3744 Kryt T-20
3770 K-720
3791 AV-3
3883 TN-014 PROFI
3953 BZN-005
4289 VK-ECO
4291 OK-ECO
4292 TN-ECO
4328 ASR-1000 KOMPLET
4346 ASR-850 a ASR-2V
4363 SB-40
4367 TN-GLOBAL
4381 VK-GLOBAL
4396 VT-1000
4398 PT-1000
4516 TK-01
1005400259
1005401259
KOLO 400/20F 4 PR 546400,42
4557 PN-200
4566 SM-01
PŘÍSLUŠENSTVÍ K MOTORŮM
PŘEVODOVÉ SKŘÍNĚ
ÚKLID
ZPRACOVÁNÍ DŘEVA
VÝROBKY VARI
TRAVNÍ TRAKTORY A SEKAČKY
PŘÍMOPŘIPOJITELNÉ STROJE
BAZAR
PŘÍVĚSY
PRACOVNÍ POMŮCKY
STAVEBNICE PONY IIA
200+ AUTORIZOVANÝCH SERVISŮ
V ČECHÁCH A NA MORAVĚ
Úvod
NÁHRADNÍ DÍLY
PŘÍSLUŠENSTVÍ DSK-317
4516 TK-01
1005401259
1005401259
1005401259
Objednací číslo:
1005401259
Dokumenty ke stažení
Formát
Název
Velikost
PDF
Katalogový list
697 kB
Technický nákres
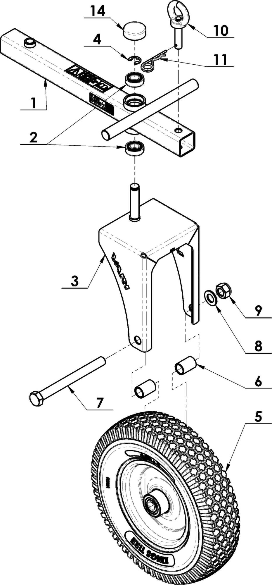
Soupis dílů sestavy
Pozice
Název
Objednací číslo
Kusů
Cena s DPH / ks
1
?
0 ks skladem
Závěs svařenec (2024)
#1
1 ks
2005401245
2005401245
1
3 751,00 Kč
Koupit
3 751,00 Kč
2
?
0 ks skladem
Ložisko 6004-2RS (20x42x12)
#2
2 ks
9943158
9943158
2
72,60 Kč
Koupit
72,60 Kč
3
Vidlice svařenec (2024)
#3
1 ks
2005401249
2005401249
1
Dotaz
4
skladem
Kroužek 15
#4
1 ks
184621
184621
1
7,30 Kč
Koupit
7,30 Kč
5
skladem
KOLO 400/20F 4 PR 546400,42
#5
1 ks
51475903025
51475903025
1
1 149,50 Kč
Koupit
1 149,50 Kč
6
?
0 ks skladem
Trubka rozpěrná
#6
2 ks
3005400251
3005400251
2
423,50 Kč
Koupit
423,50 Kč
7
Šroub M20x210-8.8-A3L
#7
1 ks
51309201820
51309201820
1
Dotaz
8
skladem
Podložka B 21
#8
1 ks
124530
124530
1
3,00 Kč
Koupit
3,00 Kč
9
Matice M20
#9
1 ks
51311129013
51311129013
1
Dotaz
10
Čep svařenec
#10
1 ks
2005400253
2005400253
1
Dotaz
11
poslední 3 ks
Závlačka
#11
1 ks
155507
155507
1
24,20 Kč
Koupit
24,20 Kč
12
Štítek třetí kolo (2024)
#12
1 ks
3005401256
3005401256
1
Dotaz
13
Samolepka bezpečnostní TK-01
#13
1 ks
3005400261
3005400261
1
Dotaz
14
skladem
Krytka VINYLFLEX válcová 47,5x15
#14
1 ks
51321841020
51321841020
1
24,20 Kč
Koupit
24,20 Kč
Tyto webové stránky používají soubory cookies. Používáním těchto stránek souhlasíte s jejich použitím. Více informací naleznete
zde
.
Souhlasím
×
Vyhledávání
×
Dotaz k produktu
Váš e-mail
Text dotazu
Požadované množství
×
Přihlášení
E-mail (přihlašovací jméno)
Heslo
Zapomněli jste Vaše přihlašovací údaje?
×
Změna přihlašovacího hesla
Váš e-mail (přihlašovací jméno)