• Přihlášení
  • Čeština  
    • Čeština
    • English
VARI
Nákupní koš
je prázdný
  • Úvod
  • Návody
  • Reklamace
  • Technická osvědčení
  • NÁHRADNÍ DÍLY
  • SEČENÍ
  • MULČOVÁNÍ
  • ROTAVÁTORY
  • OSN-1
  • APL-348
  • 4347 RP-T2/S
  • 4379 PP-60
  • 4394 PP-60 PŘESTAVBA
  • 4180 PONY I/R
  • 4336 K-60
  • 4469 KF-160
  • 4468 KF-200
  • 3716 N-3
  • 4381 VK-GLOBAL
  • 4289 VK-ECO
  • 4290 Ústrojí kypřící KU-ECO
  • 3717 Ústrojí kypřící AKY-358
  • 3718 Ústrojí kypřicí AKY-357 ( šíře 110cm )
  • 3746 Ústrojí kypřící AKY-358 ( šíře 79cm )
  • 4366 AKY-357 ( šíře 95cm )
  • 4375 Ústrojí kypřící KUK-96
  • 4376 Ústrojí kypřící KUK-125
  • 4377 Ústrojí kypřící KUR-70 GLOBAL
  • 4378 Ústrojí kypřící KUR-112 GLOBAL
  • LUCINA MaX
  • RAPTOR Hydro
  • POHONNÉ JEDNOTKY
  • PŘÍSLUŠENSTVÍ DSK-316
  • PŘÍSLUŠENSTVÍ DSK-317
  • PŘÍSLUŠENSTVÍ K MOTORŮM
  • PŘEVODOVÉ SKŘÍNĚ
  • ÚKLID
  • ZPRACOVÁNÍ DŘEVA
  • VÝROBKY VARI
  • TRAVNÍ TRAKTORY A SEKAČKY
  • PŘÍMOPŘIPOJITELNÉ STROJE
  • BAZAR
  • PŘÍVĚSY
  • PRACOVNÍ POMŮCKY
  • STAVEBNICE PONY IIA

200+ AUTORIZOVANÝCH SERVISŮ
V ČECHÁCH A NA MORAVĚ
  1. Úvod
  2. NÁHRADNÍ DÍLY
  3. ROTAVÁTORY
  4. 3716 N-3

3716 N-3

3716 N-3

3716 N-3

Objednací číslo: 3716ND

Dokumenty ke stažení
Formát Název Velikost
PDF Katalogový list 41 kB
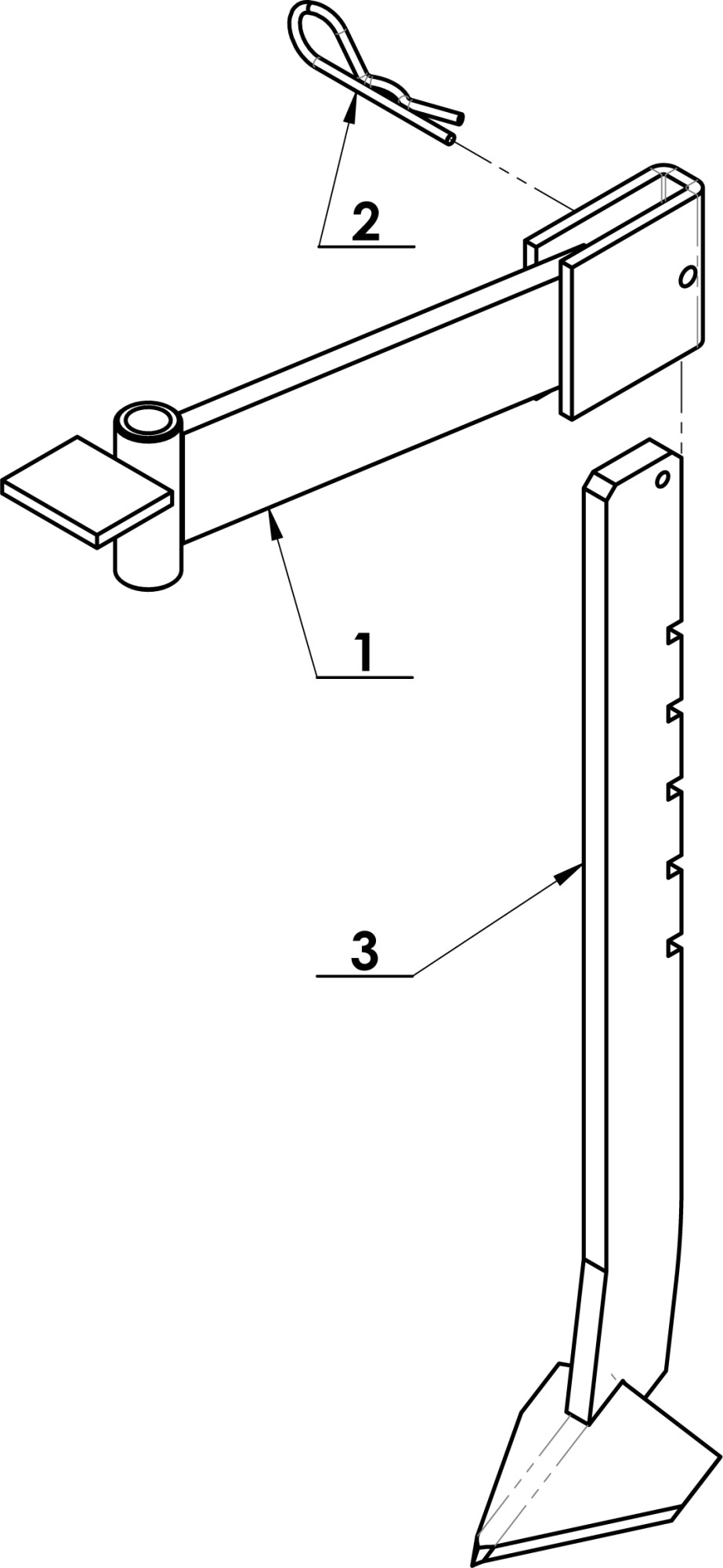
Technický nákres
3716 N-3
Soupis dílů sestavy
Pozice Název Objednací číslo Kusů Cena s DPH / ks
1 ? 0 ks skladem Nosič radličky svařený
#1 1 ks 121528
121528 1
828,80 Kč
828,80 Kč
2 méně než 5 ks Závlačka
#2 1 ks 108501
108501 1
41,10 Kč
41,10 Kč
3 méně než 5 ks Radlička úplná
#3 1 ks 121516
121516 1
1 004,30 Kč
1 004,30 Kč

© 2026 VARI, a.s.

Provozováno na systému: Shop4You.cz

Kontakty

Obchodní podmínky

Ochrana osobních údajů

Tyto webové stránky používají soubory cookies. Používáním těchto stránek souhlasíte s jejich použitím. Více informací naleznete zde.
Vyhledávání
Dotaz k produktu
Přihlášení
Zapomněli jste Vaše přihlašovací údaje?
Změna přihlašovacího hesla