Přihlášení
Čeština
Čeština
English
Hledat
Nákupní koš
je prázdný
Vyhledávání
Úvod
Návody
Reklamace
Technická osvědčení
NÁHRADNÍ DÍLY
SEČENÍ
MULČOVÁNÍ
ROTAVÁTORY
LUCINA MaX
RAPTOR Hydro
POHONNÉ JEDNOTKY
PŘÍSLUŠENSTVÍ DSK-316
PŘÍSLUŠENSTVÍ DSK-317
PŘÍSLUŠENSTVÍ K MOTORŮM
PŘEVODOVÉ SKŘÍNĚ
ÚKLID
ZPRACOVÁNÍ DŘEVA
VÝROBKY VARI
TRAVNÍ TRAKTORY A SEKAČKY
3575 VARI RLL 86H
3576 VARI RLL 96HW
3577 VARI RLH 106HW
3580 ST-900
3581 PTS-1000
3582 VT-900
3555 VARI RL 84H
3556 VARI RL 98H
3568 VARI RL 98HW
4590 VARI RL 102H
3550 FM 3310
3551 FM 3813
3552 CSL 464G
3553 CSL 484G
3691 CSL 484H
3565 CP1 484G
4589 CP1 484B
4565 CP1 484H
3692 MP1 504B
3554 MP1 504BiS
3566 MP1 504G
3567 MP1 504GES
3693 MP1 554B
3694 MP1 554H
4418 VARI-590H
PŘÍMOPŘIPOJITELNÉ STROJE
BAZAR
PŘÍVĚSY
PRACOVNÍ POMŮCKY
STAVEBNICE PONY IIA
200+ AUTORIZOVANÝCH SERVISŮ
V ČECHÁCH A NA MORAVĚ
Úvod
NÁHRADNÍ DÍLY
TRAVNÍ TRAKTORY A SEKAČKY
3582 VT-900
3582 VT-900
3582 VT-900
Objednací číslo:
3582ND
Dokumenty ke stažení
Formát
Název
Velikost
PNG
Katalogový list
217 kB
Technický nákres
Soupis dílů sestavy
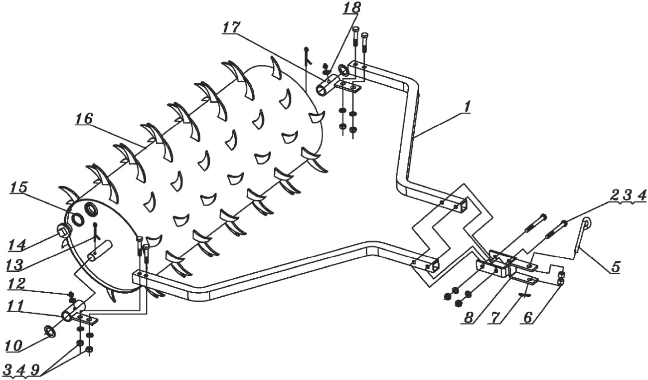
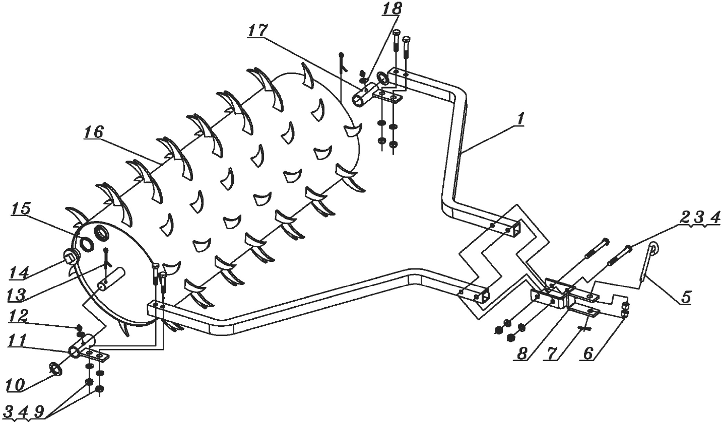
Pozice
Název
Objednací číslo
Kusů
Cena s DPH / ks
1
Držák závěsu
#1
2 ks
TR3614-00001
TR3614-00001
2
Dotaz
2
Šroub s šestihrannou hlavou M10x85
#2
2 ks
9101-10085-DX
9101-10085-DX
2
Dotaz
3
Plochá podložka 10
#3
6 ks
9301-10000-DX
9301-10000-DX
6
Dotaz
4
Samojistná matice M10
#4
6 ks
9206-10000-DX
9206-10000-DX
6
Dotaz
5
Kolík závěsu
#5
1 ks
N870-00011
N870-00011
1
Dotaz
6
Pouzdro
#6
2 ks
N280-00026
N280-00026
2
Dotaz
7
Závlačka
#7
1 ks
N021-00004-DX
N021-00004-DX
1
Dotaz
8
Závěs
#8
1 ks
TR3614-01000
TR3614-01000
1
Dotaz
9
Šroub se šestihrannou hlavou M10x55
#9
4 ks
9101-10055-DX
9101-10055-DX
4
Dotaz
10
Podložka 43x26x3
#10
2 ks
T328-20004
T328-20004
2
Dotaz
11
skladem
Kloubové pouzdro pravé
#11
1 ks
TR3614-03000
TR3614-03000
1
157,30 Kč
Koupit
157,30 Kč
12
Maznice M6
#12
2 ks
9701-06000
9701-06000
2
Dotaz
13
Závlačka 5x50
#13
2 ks
9404-05050-DX
9404-05050-DX
2
Dotaz
14
skladem
Zátka napouštěcího/vypouštěcího otvoru
#14
1 ks
N450-00001-DX
N450-00001-DX
1
60,50 Kč
Koupit
60,50 Kč
15
Podložka 40x33x5
#15
1 ks
N450-00002
N450-00002
1
Dotaz
16
Ocelový válec
#16
1 ks
TR3614A-01000
TR3614A-01000
1
Dotaz
17
skladem
Kloubové pouzdro levé
#17
1 ks
TR3614-02000
TR3614-02000
1
157,30 Kč
Koupit
157,30 Kč
18
Pojistný kroužek 6
#18
2 ks
9303-06000-DX
9303-06000-DX
2
Dotaz
Tyto webové stránky používají soubory cookies. Používáním těchto stránek souhlasíte s jejich použitím. Více informací naleznete
zde
.
Souhlasím
×
Vyhledávání
×
Dotaz k produktu
Váš e-mail
Text dotazu
Požadované množství
×
Přihlášení
E-mail (přihlašovací jméno)
Heslo
Zapomněli jste Vaše přihlašovací údaje?
×
Změna přihlašovacího hesla
Váš e-mail (přihlašovací jméno)